
中國粉體網訊 Al2O3陶瓷具有機械強度最高、硬度大、電絕緣性能好、高頻損耗小、導熱系數大、真空氣密性好等優點,并且生產氧化鋁陶瓷的原料地球儲量豐富,價格低廉,生產工藝成熟,所以氧化鋁陶瓷的應用領域十分寬廣。
在實際應用中,會經常碰到氧化鋁陶瓷與金屬材料的封接工藝,要想實現完美的陶瓷-金屬封接,最重要的一步就是做好氧化鋁陶瓷的金屬化處理,它的好壞影響最終的封接效果。

圖片來源:湖北省新時期電陶科技有限公司
陶瓷金屬化的方法主要有化學鍍Ni-P法、電鍍Ni-P合金法、高溫燒結被Ag(Ni)法、Mo-Mn燒結法、真空蒸發鍍膜法和真空濺射鍍膜法等。
1、化學鍍Ni-P法
化學鍍Ni-P又稱無電鍍或自催化鍍,它是一種在不加外在電流的情況下,利用還原劑在活化零件表面上自催化還原沉積得到Ni層,當Ni層沉積到活化的零件表面后由于Ni具有自催化能力,所以該過程將自動進行下去。一般化學鍍Ni得到的為合金鍍層,常見的是Ni-P合金。
化學鍍膜層雖然耐蝕、耐磨性好、硬度高、孔隙少,且不需要電源,但也存在不少缺點,比如膜層結合力差,抗拉強度低,鍍液成本高,工藝過程復雜等。
2、電鍍Ni法
電鍍是一種電化學過程,也是一種氧化還原過程。電鍍Ni是將零件浸入Ni鹽的溶液中作為陰極,金屬Ni板作為陽極,接通直流電源后,在零件上就會沉積出金屬Ni鍍層。電鍍Ni法是1950年Brenner等發現的,美國高氏公司采用的就是電鍍Ni法。
電鍍鎳的配方及工藝條件

電鍍Ni膜層雖然與陶瓷結合力強、內應力小,但是明顯的缺點是,受金屬化瓷件表面的清潔和鍍液純凈程度的影響大,造成電鍍后金屬化瓷件的缺陷較多,例如起皮、起泡、麻點、黑點等,同時極易受電鍍掛具和鍍缸中不同位置的影響,造成均鍍能力差。
3、燒結被Ag(Ni)法
被銀法是在陶瓷表面敷上一層Ag漿,由Ag鹽熔劑與粘接劑組成,然后在高溫下燒結使Ag離子還原為單質Ag,Ag層可由三乙醇胺還原碳酸銀,也可由硝酸銀加入氨水后用甲醛或甲酸還原而得。目前的Ag層、Ni層存在主要問題是膜層偏薄、不連續、不均勻、抗熔蝕性差。
4、Mo-Mn燒結法

5、真空蒸發鍍膜法
蒸發鍍膜法是在0.13Pa真空度中進行,用電阻蒸發源或電子束加熱蒸發,使鋁、銅成為氣相原子或分子然后沉積到陶瓷基體上,下圖為其工作示意圖。真空蒸鍍銀銅是一種清潔工藝,以日本村田、京陶公司為代表的國際著名電陶企業,在本世紀初開始采用單機式真空蒸發技術進行金屬化。但是金屬膜層與陶瓷的結合力較差,容易造成吸銀銅或電極早期脫落,而且金屬膜層的厚度不易控制、均勻度與一致性差、材料利用率較低。

蒸發鍍膜法示意圖
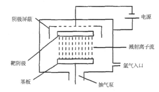
6、真空濺射鍍膜法
真空濺射鍍在1.3~0.013Pa真空中進行,沉積層物質作為靶陰極,加負偏壓2~3kV,通入氬氣,產生輝光放電,氬離子轟擊靶材,靶材原子逸出,在基板上表面沉積。

濺射鍍膜法相比以上幾種工藝而言,不僅環保,而且工藝過程簡單、成本低,是將來金屬化工藝的主要發展方向。
陶瓷金屬化的質量主要取決于陶瓷本身質量與金屬化工藝,具體影響因素有金屬化配方、金屬化溫度及保溫時間、金屬化顯微結構、金屬化涂層厚度及涂覆方式等。多年來,陶瓷金屬化一直是一個熱門的課題,國內外學者都對其展開了深入的研究,在金屬化的機理方面還尚存有爭議,且金屬化的性能方面如陶瓷金屬化成品的抗彎、抗拉強度、氣密性等仍有待提高。
參考來源:
[1]王玲等.陶瓷金屬化的方法、機理及影響因素的研究進展
[2]馬元遠等.氧化鋁陶瓷金屬化技術的研究進展
[3]丁樞華等.氧化鋁陶瓷金屬化機理研究
(中國粉體網編輯整理/山川)
注:圖片非商業用途,存在侵權告知刪除